Product Summary
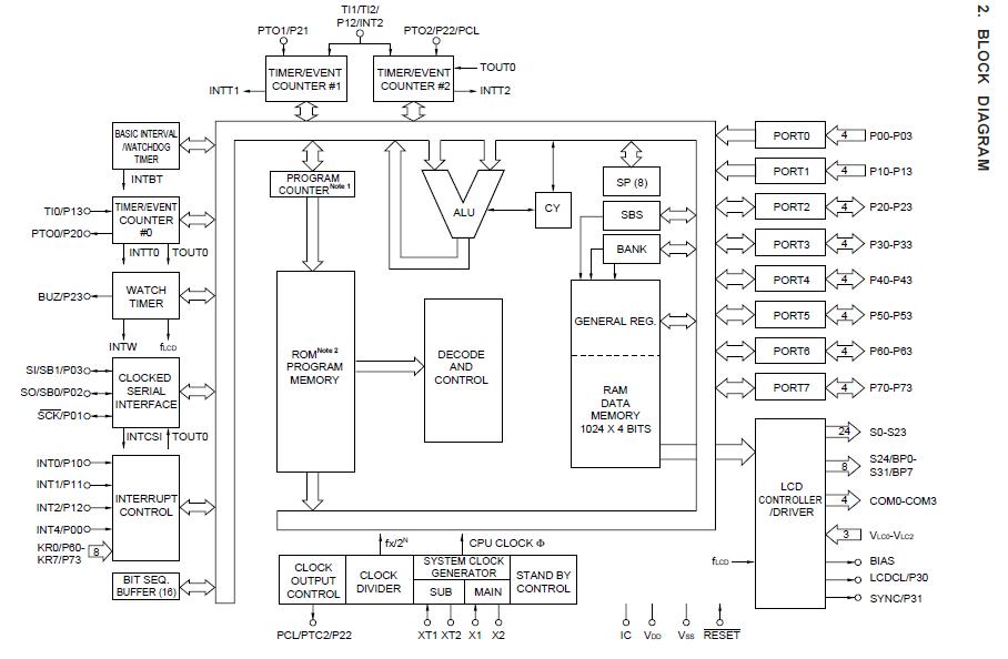
The UPD753016GC-E50-3B9 is a 4-bit single-chip microcontroller chip and has a data processing capability comparable to that of an 8-bit microcontroller. It has an on-chip LCD controller/driver with a larger ROM capacity and extended CPU functions compared with the conventional UPD753016GC-E50-3B9, and can provide high-speed operation. It can be supplied in a small plastic TQFP package (12×12 mm) and is suitable for small sets using LCD panels. The applications of the UPD753016GC-E50-3B9 include Remote controllers, camera-contained VCRs, cameras, gas meters, etc.
Parametrics
UPD753016GC-E50-3B9 absolute maximum ratings: (1)Supply voltage: –0.3 to +7.0 V; (2)Input voltage: –0.3 to VDD +0.3 V at Other than ports 4 and 5, –0.3 to VDD +0.3 V at Ports 4 Pull-up resistor provided ; (3)Output voltage: –0.3 to VDD +0.3 V; (4)High-level output current: –10 mA; (5)Low-level output current: 30 mA; (6)Operating ambient temperature: –40 to +85 ℃; (7)Storage temperature: –65 to +150 ℃.
Features
UPD753016GC-E50-3B9 features: (1)Low voltage operation: VDD = 2.2 to 5.5 V: Can be driven by two 1.5 V batteries; (2)On-chip memory; (3)Program memory (ROM): 12288×8 bits (mPD753012), 16384×8 bits (mPD753016), 24576×8 bits (mPD753017); (4)Data memory (RAM): 1024×4 bits; (5)Capable of high-speed operation and variable instructionn execution time for power saving: 0.95, 1.91, 3.81, 15.3 ms (at 4.19 MHz operation), 0.67, 1.33, 2.67, 10.7 ms (at 6.0 MHz operation), 122 ms (at 32.768 kHz operation); (6)Internal programmable LCD controller/driver; (7)Small plastic TQFP (12×12 mm): Suitable for small sets such as cameras; (8)One-time PROM: mPD75P3018.
Diagrams

| Image | Part No | Mfg | Description | ![]() |
Pricing (USD) |
Quantity | ||||
|---|---|---|---|---|---|---|---|---|---|---|
![]() |
![]() UPD753016GC-E50-3B9 |
![]() Other |
![]() |
![]() Data Sheet |
![]() Negotiable |
|
||||
| Image | Part No | Mfg | Description | ![]() |
Pricing (USD) |
Quantity | ||||
![]() |
![]() UPD70008AG-4 |
![]() Other |
![]() |
![]() Data Sheet |
![]() Negotiable |
|
||||
![]() |
![]() UPD70236AGD-10-5BB |
![]() Other |
![]() |
![]() Data Sheet |
![]() Negotiable |
|
||||
![]() |
![]() UPD7030025AGC-25 |
![]() Other |
![]() |
![]() Data Sheet |
![]() Negotiable |
|
||||
![]() |
![]() UPD703014A |
![]() Other |
![]() |
![]() Data Sheet |
![]() Negotiable |
|
||||
![]() |
![]() UPD703014AY |
![]() Other |
![]() |
![]() Data Sheet |
![]() Negotiable |
|
||||
![]() |
![]() UPD703015A |
![]() Other |
![]() |
![]() Data Sheet |
![]() Negotiable |
|
||||
(China (Mainland))









