Product Summary
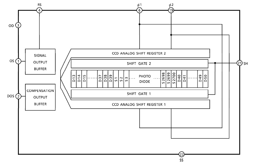
The TCD1254GFG is a high sensitive and low dark current 2500-elements linear image sensor. This device consists of sensitivity CCD chip. The TCD1254GFG has electronic shutter function (ICG). Electronic shutter function can keep always output voltage constant that vary with intensity of lights.
Parametrics
TCD1254GFG maximum ratings: (1)Master clock pulse voltage VφΜ -0.3~7.0V; (2)Shift pulse voltage VSH -0.3~7.0V; (3)ICG pulse voltage VICG -0.3~7.0V; (4)Digital power supply VDD -0.3~7.0V; (5)Analog Power Supply VAD -0.3~7.0V; (6)Operating temperature Topr -25~60 ℃; (7)Storage temperature Tstg -40~85 ℃.
Features
TCD1254GFG features: (1)Number of Image Sensing Elements: 2500 elements; (2)Image Sensing Element Size: 5.25 μm x 64 μm; (3)Photo Sensing Region: High sensitive and low dark current; (4)pn photodiode; (5)Internal Circuit: CCD Drive Circuit; (6)Power Supply: Only 3.0V Drive (MIN.); (7)Function: Electronics Shutter, Sample and Hold Circuit; (8)Package: 16 pin GLCC Package.
Diagrams

![]() |
![]() TCD1001P |
![]() Other |
![]() |
![]() Data Sheet |
![]() Negotiable |
|
||||
![]() |
![]() TCD102D |
![]() Other |
![]() |
![]() Data Sheet |
![]() Negotiable |
|
||||
![]() |
![]() TCD1201D |
![]() Other |
![]() |
![]() Data Sheet |
![]() Negotiable |
|
||||
![]() |
![]() TCD1201DG |
![]() Toshiba |
![]() Image Sensors & Color Sensors Barcode Reader |
![]() Data Sheet |
![]() Negotiable |
|
||||
![]() |
![]() TCD1205D |
![]() Other |
![]() |
![]() Data Sheet |
![]() Negotiable |
|
||||
![]() |
![]() TCD1205DG |
![]() Toshiba |
![]() Image Sensors & Color Sensors 2448,14umx200um |
![]() Data Sheet |
![]() Negotiable |
|
||||
(China (Mainland))








