Product Summary
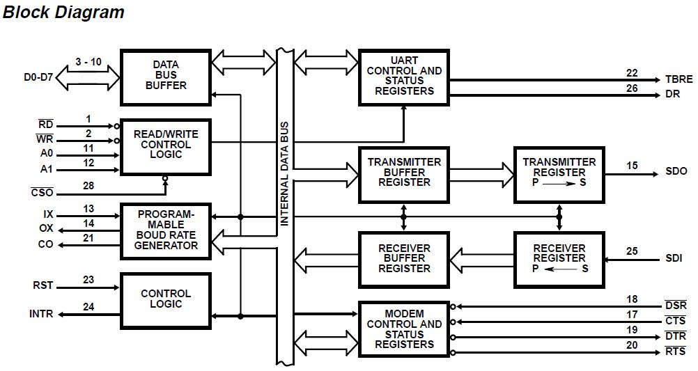
The Intersil CP82C52 is a high performance programmable Universal Asynchronous Receiver/Transmitter (UART) and Baud Rate Generator (BRG) on a single chip. Utilizing the Intersil advanced Scaled SAJI IV CMOS process, the CP82C52 will support data rates up to 1M baud asynchronously with a 16X clock (16MHz clock frequency). The on-chip Baud Rate Generator can be programmed for any one of 72 different baud rates using a single industry standard crystal or external frequency source. A unique prescale divide circuit of CP82C52 has been designed to provide standard RS-232-C baud rates when using any one of three industry standard crystals (1.8432MHz, 2.4576MHz, or 3.072MHz).
Parametrics
CP82C52 absolute maximum ratings: (1)Supply Voltage: +8.0V; (2)Input, Output or I/O Voltage: GND-0.5V to VCC +0.5V; (3)ESD Classification: Class 1.
Features
CP82C52 features: (1)Single Chip UART/BRG; (2)DC to 16MHz (1M Baud) Operation; (3)Crystal or External Clock Input; (4)On-Chip Baud Rate Generator - 72 Selectable Baud Rates; (5)Interrupt Mode with Mask Capability; (6)Microprocessor Bus Oriented Interface; (7)80C86 Compatible; (8)Single +5V Power Supply; (9)Low Power Operation: 1mA/MHz Typ; (10)Modem Interface; (11)Line Break Generation and Detection.
Diagrams

| Image | Part No | Mfg | Description | ![]() |
Pricing (USD) |
Quantity | ||||||
|---|---|---|---|---|---|---|---|---|---|---|---|---|
![]() |
![]() CP82C52 |
![]() Intersil |
![]() IC ACE UART/BRG 5V 16MHZ 40-DIP |
![]() Data Sheet |
![]() Negotiable |
|
||||||
![]() |
![]() CP82C52Z |
![]() |
![]() IC UART/BRG 5V 16MHZ 28-PDIP |
![]() Data Sheet |
![]()
|
|
||||||
(China (Mainland))










